Несколько способов как сделать поилку
С помощью обычных бытовых предметов и некоторого усилия очень просто сделать такую поилку, которая окажется наиболее функциональной, удобной в пользовании и легкой обслуживании.
- Вариант, требующих некоторые финансовых затрат.
Ниппельные поилки легко приобрести готовые и пользоваться ими, а можно немного «доработать» промышленный вариант, установив на него емкость большего объема. Настоящие умельцы могут смастерить собственную систему подачи воды с ниппельными наконечниками. Но не у всех есть такой талант, да и необходимых материалов под рукой может не оказаться.
- Наиболее элементарный вариант.
Самый простой и быстрый вариант обеспечить животных питьевой водой – прикрепить емкость с так, чтобы она не опрокидывалась, и в нее не попадал мусор. Достаточно с помощью проволоки или крючков закрепить обычную жестяную банку, пластиковую мисочку или другую подходящую емкость на решетках внутри клетки.
Наиболее удобно в таком случае использовать пластиковую бутылку объемом 1 или 1,5 литра, в зависимости от количества животных. Примерно посередине бутылки вырезается круглое отверстие, в которое будет легко проходить мордочка кролика. Затем, получившаяся поилка подвешивается на решетке клетки с той стороны, с которой вам будет удобнее доливать воду. Эта простая конструкция обеспечит ваших питомцев питьевой водой на некоторое время, ведь ее долговечность напрямую зависит от темперамента «пользователей»: маленькие крольчата любят погрызть податливый пластик, а взрослые особи, под своим весом постепенно обрывают такую поилку. Но в этом случае урон небольшой – пришедшую в негодность бутылку легко заменит новой.
- Вакуумный вариант.
Для того чтобы сделать подобные поилки кроликов своими руками, вам понадобится:
- пластиковая бутылка на 1,5 – 2 литра;
- проволока, веревка или хомутики для закрепления;
- неглубокая емкость, в которую будет поступать питьевая вода.
Сначала наполняет чистую бутылку водой и закрепляем ее на решетках клетки. Самое главное на этом этапе поместить горлышко бутылки так, чтобы оно не упиралось в дно нижней мисочки. Когда вы откроете пробку, вода наполнит поилку до определенного уровня, вполне достаточного для питья пушистых зверьков. Все готово! Дальше, по мере использования, уровень воды будет постоянно пополняться из установленной бутылки, и ваши питомцы будут обеспечены питьем до тех пор, пока не выпьют все. Когда же возникнет необходимость вытащить поилку для того, чтобы удалить из нее мусор и помыть, достаточно просто перерыть воду, закрутив в бутылке крышечку.

- Вариант коллективной поилки.
Если в клетках содержатся по несколько взрослых особей, то количество питьевой воды возрастает, особенно в жаркую погоду летом. Как же обеспечить всех питомцев питьем и, при этом, не бегать часто, добавляя воду? Конечно, можно установить несколько поилок, но это скорее будет не дополнительное удобство, а просто нерациональное использование площади клетки.
Решить эту проблему помогает применение поилок увеличенного объема для всего пушистого «коллектива» зверьков. Для этого понадобится:
- металлическая или жестяная посуда глубинной около 5-6 см и диаметром 30-40 см (можно использовать засолочные банки из-под иваси);
- емкость объемом от 3-х до 5-ти литров (пригодиться пластиковая бутыль, обычная 3-х-литровая банка и др.);
- пара металлических или каменных брусков;
- надежная проволока.
Способ устройства такой поилки похож на предыдущий, только здесь масса воды значительно больше и один проволочный фиксатор не удержит ее на весу. Поэтому и необходимы дополнительные опоры в виде брусков.
Итак, перво-наперво размещаем поддон в клетке так, чтобы животные не смогли его сдвинуть, и укладываем внутрь два бруска на некотором расстоянии друг от друга. Дальше наполняет банку или бутыль водой, и резко переворачиваем, установив горлышком на бруски. Теперь осталось только зафиксировать верхнюю емкость проволокой для большей устойчивости. Как и в первом варианте вакуумной поилки, уровень воды будет регулироваться, постоянно пополняясь в поддоне из верхней емкости.
Какой вариант поилки вы бы не избрали для своих длинноухих зверюшек, нужно помнить главное – даже автоматические поилки требуют ухода. Внимательно следите за тем, чтобы вода в емкостях не «зацветала» (особенно это актуально летом) и вовремя пополнялись ее запасы. Перед тем как налить свежую воду, обязательно промойте бутылку, или замените ее новой, чистой.
Благодаря стараниям и заботам, ваши кролики будут здоровыми, с хорошим привесом и густой, красивой шерсткой!
Способы изготовления поилок из разных материалов
Прежде чем приступить к работе, стоит выбрать подходящий для себя вариант инвентаря, учитывая численность поголовья. Если выбор пал на самую простую чашечную поилку, придётся подумать о том, как её утяжелить или закрепить, иначе питомцы легко перевернут её.
Отличная идея как сделать поилку для кроликов в виде чаши, используя лист оцинковки. Нужно загнуть края, а с наружной стороны дна приделать платформу из ДСП или другого тяжёлого материала. Нельзя забывать об удобстве использования с точки зрения гигиены – ёмкость придётся часто мыть, так как в воду будут попадать кусочки корма, слюна животных и нечистоты.
Изготовление вакуумной поилки
Для изготовления понадобится ёмкость с гладкими краями, служащая поддоном, и пластиковая бутылка без крышки. Миску следует закрепить на высоте 10-12 см от пола, чтобы животным было удобно пить из неё. Бутылку переворачивают, горлышко опускают в поддон. Оно не должно касаться дна, иначе нижняя ёмкость не будет наполняться. Далее бутыль крепят с наружной стороны клетки с помощью проволоки или хомутов перпендикулярно полу.
Вакуумная поилка для кроликов работает так – в резервуар и миску наливают воду, вставляют ёмкость в хомуты в перевёрнутом положении. По мере уменьшения объёма жидкости в поддоне он будет постепенно наполняться водой из подвесного пластикового бачка. Разница давлений не позволит вылиться всему объёму воды сразу.
Как сделать ниппельную поилку?

Изготовление ниппельной поилки
Если поголовье небольшое, обеспечить кроликов водой можно с помощью ниппельной поилки. Смастерить её просто, для этого понадобится:
- бутылка пластиковая вместимостью 1-2 л с завинчивающейся крышкой;
- ниппель из нержавейки;
- сверло или саморез;
- герметик.
В крышке нужно проделать отверстие, в которое вставляется ниппель, а щель заделать герметиком. Наполненный водой резервуар подвешивают на удобной для зверьков высоте снаружи клетки под углом, заведя сосок внутрь. Питомцы будут добывать воду, ударяя языком по шарику.
Как сделать автопоилку своими руками?
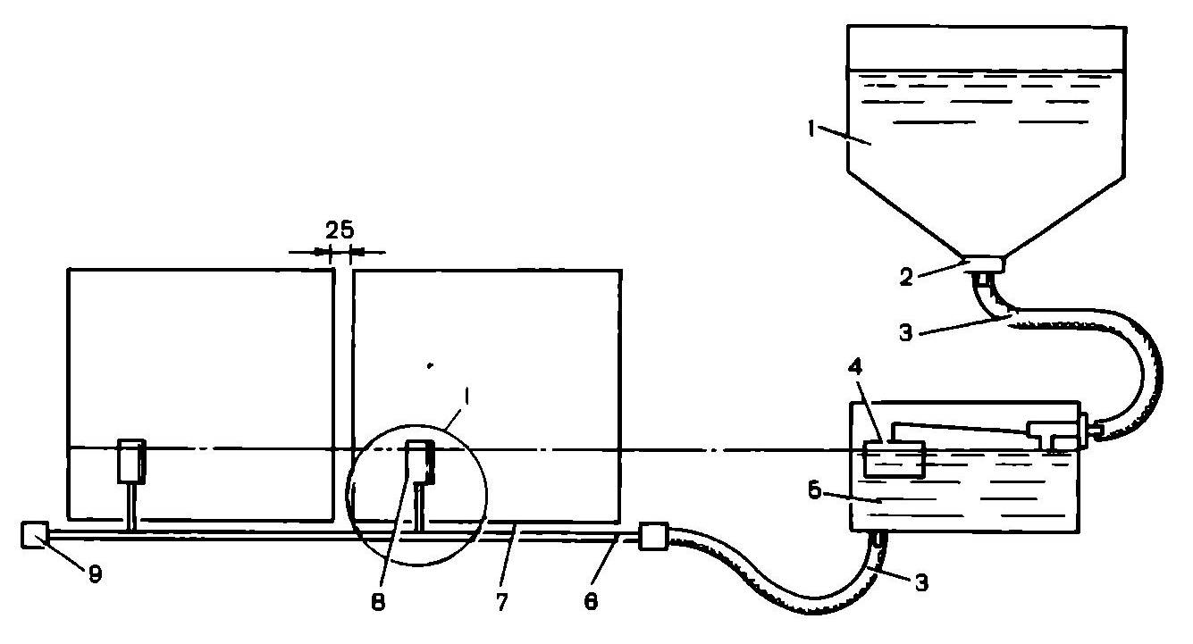
Для изготовления автоматической поилки нужен резервуар ёмкостью 10 и более литров, поплавковая система, тройники для соединения трубок, патрубки с резьбой, ниппели (1 штука на каждую клетку). Система водоснабжения соединяется с распределительным баком виниловыми или латунными трубками. Внутри ёмкости находится поплавок, который контролирует её наполнение.
От бачка к клеткам вода поступает по трубкам. Напротив каждого кроличьего домика устанавливают тройник, к выходному отверстию которого присоединяют гибкий шланг с ниппелем. Наконечник заводят в клетку через решётку и надёжно фиксируют.
Мастерим поилку своими руками
Разобравшись в разновидностях поильников, следует перейти к главному — поилкам для кроликов и способам их производства. Отметим, что сделать поилку любого вида помогут чертежи, разработанные опытными заводчиками.
Поподробнее рассмотрим самые распространённые способы создания, среди которых есть как простые поилки, так и более сложные самодельные установки.
Поилки бутылочные для кроликов
Сначала изучим, как делаются варианты попроще. В качестве примера послужат бутылочные поильники. Основным материалом является обыкновенная бутылка, объём которой составляет не более 1,5 литра. На пластиковой стенке вырезается отверстие, диаметр которого должен быть чуть больше, чем размеры головы живущей в клетке особи.
Закрепить готовый резервуар лучше с помощью проволоки или любых других подходящих вещей, которые найдёте под рукой
Важно позаботиться о том, чтобы кролики могли беспрепятственно добраться до воды, а заводчик при этом мог без особых усилий наполнить бутылку новой жидкостью
Ещё один весомый плюс — это то, что для мытья конструкции из бутылки не требуются особые усилия.

Изготовление вакуумной поилки для кроликов
Чашечка может быть сделана двумя способами:
- изготовлением в домашних условиях;
- приобретением в специализированном зоомагазине.
Считается, что наиболее подходящий материал, из которого выполнена конструкция для питья, — нержавеющая сталь. Для начала задаётся высота, на которой будет закреплена чаша под бутылку (около 10 см)
Важно, чтобы до неё доставали обитатели домика. Однако они не должны залезать в чашку
По установлении чаши бутылка принимает перевёрнутое состояние. Построим это так, чтобы она держалась на расстоянии от чаши и не прилегала плотно.

Её устанавливают вне самого домика сверху и снизу хомутами. Количество бутылок зависит и от того, какой объем воды они вмещают
Важно, что 1 кролик должен выпивать ежедневно от 0,5 до 1 л воды
Как сделать ниппельные поилки для кроликов своими руками?
В качестве долговечного материала будет оптимальна та же нержавейка. Сам ниппель можно найти в специализированном магазине, поэтому опытные кролиководы советуют именно купить, а не делать самим.
Лучше купить качественный готовый ниппель, чем собрать самостоятельно, ведь ниппельные поилки для кроликов своими руками должны обладать максимальными показателями безопасности и герметичности.
Угловым краям конструкции придаётся особое значение: они не должны быть острыми. Это также обезопасит питомца и убережёт от механических повреждений во время питья. Чтобы точно понять, как сделать ниппельные поилки для кроликов, стоит ориентироваться на вакуумные: показатели объёма воды в ёмкости и крепления будут похожими.
Чтобы зимой содержимое ёмкостей не замерзало, сооружаются поилки для кроликов с подогревом. В холодное время года для утепления применяют тот же принцип, который применяется при утеплении полов в доме.
Альтернативой может выступить нагреватель, использующийся для аквариумов и содержащий терморегулятор. Если правильно утеплить поилку, то зимняя пора будет не страшна питомцу, ведь он сможет пить тёплую воду даже в лютые морозы.
Если предварительно почитать и посмотреть обучающие видео, где опытные заводчики пошагово рассказывают и показывают, как сделать поилки и кормушки для кроликов, то можно без труда сделать их. Это касается и того, как соорудить автопоилку для кроликов своими руками.
Переноска для крыс
Если вы решите отправиться в путешествие, переехать или взять еще одну домашнюю крысу в качестве питомца, вам понадобится переноска. Маленькие контейнеры для животных важны — они миниатюрные, прочные и надежные. Они дают животному достаточно места для комфортного передвижения внутри. Но недостаточно пространства, чтобы получить травму во время резкой остановки транспортного средства. Многие переноски для мелких животных обтянуты тканью и имеют маленькие окошки. Они позволяют грызуну прятаться или видеть окружающий мир, а также получать доступ к свежему воздуху.

Для большого количества крыс можно использовать переноску для кошек, следя за тем, чтобы прутья сетки аксессуара были достаточно близко расположены, чтобы предотвратить побег животных.
При выборе оптимальной переноски помните, что:
- аксессуар должен быть достаточно просторным и большим для использования одной или более крысой;
- переноска должна иметь вентиляционные отверстия на боковых стенках, чтобы крыса получала достаточно воздуха;
- материал контейнера должен отличаться прочностью, чтобы крыса не могла прогрызть его и устроить побег;
- дно переноски необходимо засыпать наполнителем, так как животное может начать интенсивно испражняться из-за страха;
- при переноске питомца в минусовую температуру надо поместить контейнер в теплую сумку, чтобы питомец не заболел.
Особенности зимних поилок
Если кролики находятся зимой на улице или обитают в необогреваемых помещениях, им необходимо обеспечить наличие поилок с подогревом. Для этой цели подходят ниппельные системы, снабженные электронными механизмами, подогревающими воду до необходимой температуры. Для их работы требуются аккумуляторы, поэтому стоимость устройств достаточно велика.
Для содержания нескольких голов или при нахождении кролика в квартире или доме в них нет необходимости, но при разведении целого стада на открытом воздухе придется приобрести такое приспособление. Оно окупит вложения в течение ближайших месяцев, упростив жизнь кролиководу.

Краткие инструкции по изготовлению
Кролиководы-умельцы придумали множество вариантов изготовления различных видов поилок своими руками. В зависимости от выбранного типа устройства и используемых материалов вам могут потребоваться:
- острый нож или ножницы;
- проволока для крепления конструкций;
- пассатижи:
- кусачки;
- шурупы;
- гвозди.

Стандартный набор инструментов
При использовании пластиковых бутылок рекомендуется брать емкости объемом не менее 1,5-2 л для одного животного и 5-6 л для нескольких кролей. Также следует отдавать предпочтение изделиям из темного пластика – жидкость в такой посуде дольше сохранит свежесть и не зацветет.
Перейдем к подробному описанию наиболее интересных вариантов:
Чашечная
Самое простое и доступное решение, для которого подойдет практически любая пластиковая или металлическая емкость. Достаточно подобрать тару нужных размеров, учитывая площадь клетки и количество ее обитателей. Если вы решили использовать жестяную банку из-под консервов, ее нужно хорошо вымыть и обработать верх, чтобы не оставалось острых краев и зазубрин.

Поилка чашечного типа – консервная банка, установленная в стационарной крепежной конструкции на стене клетки
Главный недостаток подобных изделий – их неустойчивость и частое переворачивание. Для фиксации емкости можно сделать простое крепление:
- вбейте в боковую стенку клетки на небольшой высоте друг над другом два гвоздя с расстоянием, соответствующим высоте бортов подготовленной посуды;
- загните гвозди, сделав из них горизонтальные петли;
- вставьте между ними поилку;
- пропустите через верхнюю петлю длинный гвоздь шляпкой вверх, чтобы нижним концом он упирался в дно емкости.
Ниппельная
Чтобы соорудить своими руками ниппельную поилку для кроликов понадобится небольшой пластиковый контейнер для воды (обычная бутылка), специальный ниппель (купленный в магазине), крепление и несколько минут свободного времени.

Основные преимущества такой конструкции – устойчивость, длительное сохранение чистоты воды, простота и удобство использования, как для животного, так и для кроликовода
В бутылочной крышке делают отверстие для ниппеля (или дроссельного клапана). Более практично вкрутить ниппель не в саму бутылку, а поставить его в конец резиновой или пластиковой трубки нужной длины. Тогда емкость с водой можно прикрепить с помощью проволоки на наружную стенку сетчатой клетки или зафиксировать более надежно на деревянной поверхности хомутами, сделанными из листовой жести и прикрученными шурупами.

Схема изготовления простейшей конструкции ниппельной поилки и ее крепления
Вакуумная
Для того чтобы сконструировать вакуумное устройство своими руками, понадобится также пластиковая бутылка, два хомута для крепления на клетку и емкость, куда будет поступать жидкость (чаша). Подходящую емкость можно приобрести в магазине или использовать любую посуду, имеющуюся под рукой. Лучше если она будет изготовлена из нержавеющего металла или из пищевого пластика.

Чашу для питья устанавливают так, чтобы кролик доставал свободно, однако не мог в нее залезть; оптимальная высота от дна клетки – не менее 10 см
Порядок действий:
- Бутылку с жидкостью переворачивают и располагают максимально близко к чаше, но так, чтобы горлышко не касалось поверхности ее дна.
- Из-за разности давлений некоторое количество воды выльется в емкость, закрыв горлышко. Уровень жидкости будет поддерживаться в постоянном автоматическом режиме – вода поступает в чашу по мере того как животные утоляют жажду.
- Крепят бутылку с наружной стороны клетки при помощи хомутов.
В следующем видео опытный фермер делится советами о том, как соорудить надежную и простую в уходе конструкцию для обеспечения кролей водой:
Автоматическая (для большого поголовья)
В этом случае понадобится пластиковый бачок объемом не менее 10 л, резиновая или пластиковая трубка и ниппели по количеству клеток:
- Бачок с водой располагают рядом с клетками или вольером на необходимой для создания достаточного давления высоте.
- К емкости подсоединяют трубку, протягивают ее между клетками.
- В трубке напротив каждой клетки делают отверстия, куда вставляют более узкие шланги с ниппелями.

Крольчатник, оборудованный автоматической ниппельной системой подачи воды животным в индивидуальном порядке
Как установить?
Приобрести и изготовить поилку – не самая сложная задача. Необходимо также правильно прикрепить ее к клетке, чтобы игривый питомец не расплескал воду и не повредил конструкцию. Магазинные экземпляры обычно снабжены специальными фиксаторами, которыми очень удобно пользоваться в данном случае.
Если поилка имеет в крышечке отверстие для крепления, а самого фиксатора нет, это не проблема. Его можно сделать из небольшого куска проволоки, загнув по краям, чтобы получились своеобразные крючки. Можно также использовать плотную веревку.
Зафиксировать автопоилку можно и с помощью большого пластикового стакана. Для этого он переворачивается донышком вверх, и в нем вырезается отверстие для поилки. Сбоку необходимо проделать уже маленькое отверстие, в которое просовывается трубочка. Конструкция достаточно устойчиво размещается внутри клетки, ее можно поставить в любое свободное место.
Напольную поилку стоит оборудовать утяжелителем, тогда активный зверек не сможет ее перевернуть. Однако нужно учитывать, что потребуется достаточно частое мытье резервуара, поэтому крепить его основательно не следует. Также будет уместным расположить такую конструкцию на подставке. В этом случае в воду к тому же будет попадать меньше грязи, в результате чего менять ее можно будет немного реже.
Какие бывают виды поилок
Сейчас существует много разновидностей поилок для кроликов. Все они имеют свои недостатки и преимущества.
| Поилки для кроликов, которые используются на практике | Как выглядит | Фото | Преимущество | Недостаток |
|---|---|---|---|---|
| Чашечная емкость для воды | Контейнеры, миски или обрезанные пластиковые бутылки после воды. | ![]() | Экономичный и общедоступный вариант. | Чашечный поильник легко переворачивается; нужно часто менять воду; не защищает от попадания шерсти животных, корма, фекалий. |
| Емкость ниппельная сосковая или Капельная поилка для кроликов | Закрытый герметично резервуар с дозатором (автопоилка). | ![]() ![]() | Исключено вытекание жидкости при переворачивании; дозированная автоматическая подача; расход жидкости минимален, так как она не испаряется; исключается проливание; подходит для дачи витаминов или лекарственных средств; питье защищено от загрязнений. | В зимние дни вода в резервуарах замерзает; частое пополнение запасов приводит к подтеканию крышки. |
| Вакуумная система поилки для кроликов | Конструкция с двух резервуаров, где жидкость самотеком попадает с дополнительной емкости в основной резервуар. | ![]() | Можно изготовить самостоятельно; конструкция используется в основе автоматизированных модульных систем; подойдёт для выпаивания большого количества животных одновременно; подача жидкости в поилку по мере надобности; простота в использовании и изготовлении. | Вода может вытекать с чаши, а зимой быстро замерзает. |
| Из пластиковой бутылки | Пластиковая емкость ручного изготовления. | Дешёвый вариант. | Недолговечность, зверьки могут прогрызть, при минусовой температуре – быстро замерзает жидкость. | |
| Поилка из трубы ПВХ | Обрезанная ПВХ труба с заглушкой, в которую вставляют емкость с водой. | ![]() | Нет необходимости составлять чертежи; можно изготавливать и устанавливать самостоятельно. | Большая вероятность попадания грязи, экскрементов; переворачивается; нельзя использовать канализационный пластик или материал, бывший в употребление. |
| Автономная поилка | Автономная система подачи воды. Бункерная кормушка в сочетании с модулями поильных систем полностью автоматизирует подачу необходимых ресурсов на большой ферме. | ![]() Устройство таких поилок состоит из нескольких частей: • резервуар с подготовленной водой (1); • распределительный резервуар (5); • нужное количество распределительных шлангов (3); • очищающий фильтр (2); • бак (5); • магистральные трубы (6); • клетки (7); • поильник (8); • поплавок (4); • ревизионный кран (9). ![]() | Значительно упрощают процесс выпаивания; оптимальный вариант для больших фермерских хозяйств. | Дорогостоящий вариант; не подходит заводчикам домашних кроликов. |
| Зимние варианты поилок | • Поилки с подогревом поддона • Ламповые подогревы • Поилки со встроенным терморегулятором | ![]() ![]() ![]() | Используются в холодное время года; дополнительно обогревают клетку; поддерживают оптимальную температуру воды. | Энергозависимые; небезопасны в использовании. |
При использовании ниппельных поилок часто возникает проблема с подачей питья. Причина поломки — проблема с шариком. Чтобы отремонтировать устройство, нужно проверить его подвижность, а также угол наклона поилки.
Виды
Хотя на первый взгляд выбор поилок кажется неважным, это не так. Ёмкость для воды необходимо подбирать в соответствии с:
- породы кроликов (декоративные, для разведения);
- местом содержания (улица, закрытое помещение);
- суточной нормой жидкости (в зависимости от возраста).
Это также необходимо, как выбор правильного корма. Каждый вид поилок имеет свои плюсы и минусы. Например, в некоторых поилках вода может замерзнуть, если её установить на уличных клетках.
Поэтому следует выбирать специальную емкость, в которой, даже при отрицательных температурах, вода не будет замерзать. Поилку необходимо крепко закреплять во избежание переворачивания и розлива воды. Материал, из которого сделана ёмкость для воды, должен быть прочным и безвредным для животных. Поилки для кроликов можно купить в магазине или сделать самостоятельно.

Виды поилок для кролей зависят от возраста кроля, количества кролей в клетке и формы клеточной постройки
Чашечные
Довольно распространенный, простой и бюджетный вариант. В качестве таких поилок можно использовать:
- тарелочки;
- мисочки;
- горшочки;
- ёмкости из-под консервов и других продуктов (небольшой круглой формы);
- обрезанные пластиковые бутылки.
Поилки могут присоединяться в системе подачи воды и иметь специальное крепление для подвешивания на прутья клетки. Основное требование к таким чашам — защита от переворачивания. Для этого можно прикрепить утяжеление с обратной стороны поилки или закрепить поилку специальным хомутом.
Главный недостаток этого вида то, что ёмкость с водой не защищена и в неё могут попасть экскременты кроликов. Из-за этого необходимо менять воду в поилке несколько раз в день, а чашу при этом обязательно хорошо вымывать каждый раз. Такой процесс доставляет существенные неудобства при уходе за животным.

Чашечные поилки обычно делают из бутылок и пластиковых банок
Полуавтоматические
Такой тип поилок оснащен функцией автоматического наполнения её водой из дополнительной ёмкости. Вспомогательной накопительной емкостью могут служить простые пластиковые бутылки.
Чаша у такой поилки крепится в клетке таким образом, чтобы ее можно было снять при необходимости. В соответствии с размером дополнительных бутылок делаются крепления-хомуты. Нижний хомут позволит регулировать уровень воды в поилке. Высота, на которой необходимо закреплять нижний хомут, зависит от объема дополнительной емкости с водой.
Поилку следует устанавливать на высоте 3 см от пола, с трехсантиметровым выступом в клетке. Только при такой установке в чашу не будут попадать фекалии животного.

Главным отличием полуавтоматической поилки является наличие дополнительного резервуара для воды
Автоматические или ниппельные
Наиболее востребованный вид поилок на сегодняшний день. Чаще всего используются на фермах и в хозяйствах, где разводятся кролики. Бак, сделанный из нержавеющей стали, заполняется водой. После этого вода поступает в распределительный бачок, чья работа основывается на распределительной системе смыва. От бачка проводится магистраль из трубок, которые подводятся ко всем клеткам с животными. Каждая поилка снабжена специальным шариком-ниппелем. Когда кролик касается языком шарика, из ёмкости поступает вода.

Подача воды в ниппельной поилке регулируется поплавковым клапаном, который опускается вместе с уровнем воды в резервуаре.
Ниппельные
Ниппельные поилки для кроликов представляют собой конструкцию с перевернутой емкостью или присоединенной трубкой, на кончик которой надевается ниппель — устройство с шариком. Иначе еще такие поилки называют шариковыми или сосковыми. Преимущества такой поилки в том, что при нажатии на шарик вода вытекает, а когда его отпускаешь — поток останавливается.
Вакуумные
Бюджетный вариант поилок для животных. Такие поилки представляют собой перевернутую бутылку с водой, установленную в ёмкости так, чтобы горловины находилось внутри чаши. Вода, вылившаяся из бутылки, покроет горлышко и за счёт разницы давлений не позволит жидкости сразу вытечь из бутылки. Жидкость будет поступать в чашу постепенно по мере испарения или употребления кроликами. Данные поилки просты при изготовлении и использовании. Большой плюс — закрытая емкость защищает воду от загрязнений. Минусом таких поилок является возможность вытекания воды из чаши и замерзание жидкости в зимний период.

Суть вакуумных поилок – вода из дополнительной тары подается в «основную» поилку самотеком, пока не дойдет до нужного уровня.
Изготавливаем поилки своими руками

Поилка своими руками
Ниже приведены наиболее простые способы изготовления добротных поилок для кроликов.
В первый раз можно попробовать изготовить поилку из обычной пластиковой бутылки объемом до полутора литров. Для этих целей в бутылке специально вырезается отверстие, которое по размерам соответствует объемам головы кролика. Бутылка закрепляется проволокой. Самое главное — это свободный доступ зверьков к воде. Сделать такую поилку очень просто, никаких лишних затрат от вас, при этом, не потребуется. Но она может оказаться совсем недолговечной. Молодые кролики могут погрызть ее за пару недель. Зато ее очень легко мыть. При появлении в жаркую погоду водорослей в такой поилке, ее нужно немедленно заменить.
Даже асбестоцементные трубы можно применять для изготовления поилок для кроликов. С торцов их нужно перекрыть консервными банками, а затем проклеить при помощи супер клея. Для удобства зверьков, с одной стороны следует проделать одну небольшую выемку. Закрепить поилку можно на стене клетки или ее дверце.
Поилку в виде металлической бутылки можно сделать из листов нержавеющей стали. Острые края листов нужно обработать напильником, а швы подпаять. В получившейся чаше нужно закрепить бутылку с водой. Если постараться, то такая поилка прослужит не один год. Вместо нержавеющей стали можно использовать оцинкованные листы, что также являться экономичным вариантом.
https://youtube.com/watch?v=9XS-R7j87Qk
Для снабжения водой нескольких кроликов одновременно, следует изготавливать поилку несколько большего размера. В большую банку из-под сельди необходимо положить пару брусков, которые в высоту достигают две трети этой банки. Трехлитровую бутылку с водой следует резко опрокинуть и закрепить на этих брусках. Так, вода заполнит две трети банки. Наполнять поилку водой следует по мере необходимости.
Как приучить кролика к поилке
Приучать кроликов пить из поилок стоит с детства, установив один механизм подачи воды. При таком подходе проблем с выпаиванием взрослого поголовья не возникнет.
Но если переучить потребуется взрослых особей, то здесь кролиководам необходимо запастись терпением и приложить немало усилий.
Для приучения животных к определённому типу питьевых устройств рекомендуется:
- исключить все альтернативные способы питья, оставив только необходимый вариант;
- в случае с чашечными резервуарами обезопасить зверей – проследить, чтобы не было острых краёв, зазубрин, а ушастики не поранились и не испугались нового варианта; обычно привыкание происходит очень быстро;
- при внедрении ниппельных и автономных систем животным нужно показать, как производится подача жидкости — стоит просто намочить палец и нанести воду на нос зверьку. Иногда потребуется некоторое время, чтобы животное поняло принцип и начало повторять за человеком. После удачной попытки кролик без проблем начнёт пользоваться новым приспособлением.
Не стоит кричать на кролика, если он не сразу понял принцип работы новой поилки. Недовольство и крик хозяина только затормозит процесс обучения. Будьте ласковы и запаситесь терпением, ведь кролики – умные зверьки и обязательно поймут, что от них хотят.
Видео Поилка для кролика. Какую поилку лучше выбрать для кроликов. Кролиководство.
Виды поилок для кроликов
Существует 5 разных видов поильников. У каждого из них есть свои преимущества и недостатки. При выборе кролиководы основываются на:
- удобстве;
- практичности;
- стоимости.
Вид | Преимущества | Недостатки |
| Чашечные — емкость, наполненная водой. | Не требует затрат. | Не герметичен, требует постоянной смены воды, зверек может опрокинуть или справить нужду. |
| Вакуумные — бутылку наполняют водой и ставят на емкость горлышком вниз, когда вода в чаше заканчивается, наливается новая порция. | Легко сделать, бутылка защищает жидкость от мусора. | В миску может попасть грязь, ее легко опрокинуть, зимой замерзает. |
| Ниппельные — животное кончиком языка касается ниппеля и жидкость по трубке поступает к нему. | Можно изготовить самостоятельно, не попадают загрязнения, не проливается, виден уровень воды. | Не подходят для зимнего содержания на улице. |
| Автоматические — используют в масштабном разведении, бак наполняют свежей водой и устанавливают клапан-регулятор, к чашам в клетках проводят трубки для подачи жидкости. | Сокращает временные затраты на уход, не попадают загрязнения, обеспечивает водой целые поголовья. | Готовые стоят дорого, сделать самостоятельно трудно и финансово затратно. |
| Бутылизированные — используют для содержания декоративных пород в домашних условиях, по структуре схожи с ниппельными. | Доступ к чистому питью круглосуточно. | Требует времени и денег для изготовления. |
Какую поилку лучше выбрать
Кроликам нужны такие же поилки, как и для птицы и грызунов. Поэтому и требования к ним предъявляются одинаковые.
По вышесказанным причинам использовать для выпаивания кроликов обычные миски, плошки, неглубоки чашки и тазы очень нежелательно. Так как
- в них легко попадают посторонние предметы, всякий мусор: шерсть, остатки пищи, фекалии;
- они очень неустойчивы и легко опрокидываются, намочив самого зверька и изгадив всю клетку.
Например, на фото внизу, хотя и найдено оригинальное решение для устранения возможности опрокидывания поилки, о соблюдении санитарных норм даже и речи не идет. А это прямой путь подхватить инфекцию и распространить ее на как можно большое число ушастых особей и не только.

Оригинальный способ предотвратить опрокидывание поилки
Поэтому наиболее гигиенично и удобно для самих хозяев использовать ниппельные поилки. Можно приобрести готовую — такую, ка показано на фото выше прозрачную из антибактериального пластика.
Но и самому ее сделать совсем несложно. Тогда вы потратитесь только на приобретение ниппеля, а полулитровая пластиковая бутылка из-под воды всегда в доме найдется. Ниппель же можно купить в ветеринарной аптеке. Только покупайте продукцию известных фирм. А то только испортите себе и кроликам нервы.
Принцип ее изготовления предельно прост. На фото внизу показано, как это реально можно сделать. Только в самом верху бутылки просверлите несколько отверстий, для избегания образования вакуума в бутылке. Так кроликам легче будет извлекать воду из поилки.

Этапы изготовления ниппельной поилки
В итоге можно сказать, что правильный выбор поилки очень важный вопрос, так как от него зависит здоровье ваших питомцев. Потратившись только один раз на качественную поилку, вы сэкономите
- на лекарствах, необходимых для лечения кроликов, заболевших в результате приема некачественной воды;
- сбережете свои нервы и время на уход за ними.
Приглашаем вступить в наш и группу во Вконтакте или Одноклассниках, где публикуются новые статьи, а также новости для садоводов и животноводов.
Какие игрушки лучше выбрать
Перед тем как приступить к подбору игрушек ушастому питомцу, стоит внимательно понаблюдать за ним, изучить его повадки. Каждый ушастик индивидуален и у каждого свои особенности в характере. Поэтому кролиководы рекомендуют подбирать игрушки по характеру и темпераменту зверьков. Для менее активных ушастых подойдет рытьё нор, а более быстрым питомцам нужно больше физических нагрузок, поэтому им стоит предлагать всевозможные приспособления для катания, подбрасывания, бега с небольшими препятствиями. Игрушки для стачивания и на логику необходимо давать всем животным.
При выборе между покупными и самодельными вариантами, учитываются личные финансовые возможности. По комфорту, качеству и безопасности предпочтение отдают промышленным, а вот по стоимости дешевле выйдут те изделия, которые будут сделаны самостоятельно.

Ниппельные поилки
Такие поилки устроены также как и вакуумные, только корпус устройства желательно изготовить из нержавейки для более длительного использования. Нужны будут два хомута для крепления на стенке клетки, резиновая трубка и ниппель. Одним концом резиновая трубка вставляется в горлышко корпуса поилки, на другой надевается ниппель.
Ниппель представляет собой устройство в виде шарика, на который надавливает своим языком кролик, дабы получить порцию жидкости.
Преимущества ниппельной поилки:
- чистота воды сохраняется довольно долго;
- не происходит испарения воды, поэтому будет минимальный расход;
- исключено проливание воды;
- позволяет растворять лекарства или витамины для лечения кроликов.
Недостатки ниппельной поилки:
при наступлении холодов вода в корпусе замерзает.
Если вы уделяете устройству поилок для кроликов пристальное внимание, тогда ваше поголовье будет всегда с чистой и свежей водой, и вам можно будет не беспокоиться за их здоровье, а ведь при разведении мясных пород вопрос здоровья является основным. Купить ниппельные поилки для кроликов вы можете у нас
Читайте статью о там как сделать кормушку для кроликов своими руками.

















